Save 15% Off Shipping On All Orders Over $350. Discount Applied At Checkout.

Front Engine Hood Sealing - BMW (51711946499)

BMW 1987-1996 BMW - 51711946499

Front Engine Hood Sealing - BMW (51711946499)

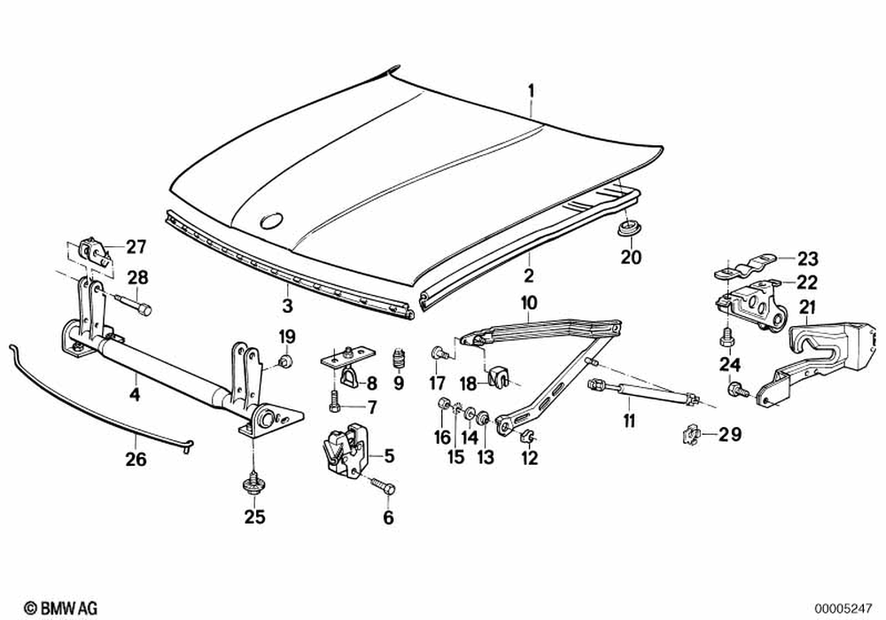
Part can be found as reference #3 in illustration

Front Engine Hood Sealing - BMW (51711946499)

BMW 1987-1996 BMW - 51711946499

Invalid Postal Code

Details

  • Brand:

     Parts

  • SKU:

    51711946499

Vehicle Fitment

Vehicle Fitment
Year Make Model Body & Trim Engine & Transmission
( more fitments)
No fitment data available

BMW

Find the right fit for your BMW vehicle with our wide selection of genuine OEM auto parts and accessories. We offer factory-original components designed to match your car’s exact specifications—no guesswork, no compromises. Whether you’re replacing worn parts or upgrading with factory accessories, shop with confidence knowing you're getting quality parts backed by the manufacturer.

You can have your BMW Front Engine Hood Sealing (51711946499) at your door for your 1987-1996 BMW in just a matter of days!

Shop for more BMW parts by selecting what make you want to shop for below: